Toshiba TCR5RG 500mA LDO Voltage Regulators
Toshiba TCR5RG 500mA LDO Voltage Regulators are CMOS general-purpose single-output voltage regulators with an on/off control input. These voltage regulators feature Low Dropout (LDO) voltage and ultra high ripple rejection ratio. The TCR5RG voltage regulators are available in the 0.9V and 5.0V fixed output voltage range. These regulators offer overcurrent protection, thermal shutdown, and auto-discharge. The TCR5RG regulators are offered in an ultra small plastic mold WCSP4F package and comes with a high ripple rejection ratio of 10dB (f = 1kHz, 2.8V output). These devices are ideal for portable applications that require high-density board assembly such as cellular phones.Features
- Ultra small package WCSP4F (0.645mm x 0.645mm (typical); t-0.33mm (maximum))
- High ripple rejection ratio 100dB (typical) @1kHz at 2.8Voutput
- High ripple rejection ratio 93dB (typical) @10kHz at 2.8Voutput
- High ripple rejection ratio 67dB (typical) @100kHz at 2.8Voutput
- High ripple rejection ratio 59dB (typical) @1MHz at 2.8Voutput
- Low output noise voltage (VNO = 5μVrms (typical) at 10Hz ≤ f ≤ 100kHz)
- Low quiescent current (IB = 7μA (typical) at IOUT = 0mA)
- Overcurrent protection
- Thermal shutdown
- Auto-discharge
- Low dropout voltage:
- VDO = 150mV (typical) at 2.8Voutput, IOUT = 500mA
- Wide range output voltage line up (VOUT = 0.9V to 5.0V)
- Pull down connection between CONTROL and GND
- Ceramic capacitors can be used (CIN = 1μF, COUT =1μF)
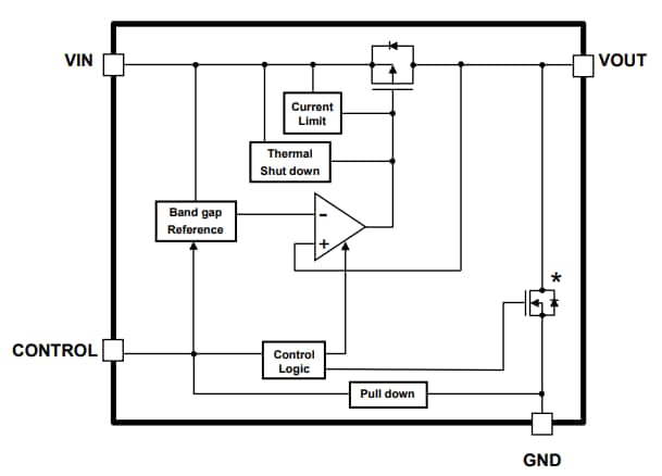
Block Diagram
Mechanical Drawing
Publicado: 2021-01-21
| Actualizado: 2022-03-11
