Microchip Technology PIC16F18156/76 Full-Featured 28-/40-Pin MCUs
Microchip Technology PIC16F18156 and PIC16F18176 Full-Featured 28-/40-Pin MCUs feature a memory range of 7KB to 28KB with speeds up to 32MHz and a suite of analog peripherals to enable precision sensor applications. These MCUs include a 12-bit differential Analog-to-Digital Converter with Computation (ADCC), two 8-bit Digital-to-Analog Converters (DAC), a 16-bit Pulse-Width Modulation (PWM) peripheral, and many more waveform control/communication peripherals. The small form-factor, feature-rich devices are well suited for low-cost, energy-efficient analog sensor applications with higher resolution requirements.Features
- Core
- C-compiler optimized RISC architecture
- DC to 32MHz clock input operating speed with 125ns minimum instruction time
- 16-level deep hardware stack
- Low-Current Power-on Reset (POR)
- Configurable Power-up Timer (PWRT)
- Brown-out Reset (BOR)
- Low-Power Brown-out Reset (LPBOR)
- Windowed Watchdog Timer (WWDT)
- Memory
- Up to 28 KB of program Flash memory
- Up to 2 KB of data SRAM memory
- Up to 256 Bytes of data EEPROM memory
- Memory Access Partition (MAP) with program Flash memory partitioned into the Application block, Boot block, and Storage Area Flash (SAF) block
- Programmable code and write protection
- Device Information Area (DIA) stores temperature indicator calibration coefficients, Fixed Voltage Reference (FVR) measurement data, and the Microchip Unique Identifier (MUI)
- Device Characteristics Area (DCI) stores program/erase row sizes and the pin count details
- Direct, Indirect, and Relative Addressing modes
- Power-saving functionality
- Doze
- Idle
- Sleep
- Peripheral Module Disable (PMD)
- Low Power Mode
- Programming/debug
- In-Circuit Serial Programming™ (ICSP™) via 2x pins
- In-Circuit Debug (ICD) with 3x breakpoints via 2x pins
- Debug integrated on-chip
- Digital peripherals
- 2x Capture/Compare/PWM (CCP) modules
- Up to 4x Pulse-Width Modulators (PWM)
- 4x Configurable Logic Cells (CLC)
- 1x Complementary Waveform Generator (CWG)
- 1x configurable 8/16-Bit Timer (TMR0)
- 2x 16-Bit Timers (TMR1/3) with gate control
- Up to 3x 8-Bit Timers (TMR2/4/6) with Hardware Limit Timer (HLT)
- 1x Numerically Controlled Oscillator (NCO)
- Programmable CRC with memory scan
- 2x Enhanced Universal Synchronous Asynchronous Receiver Transmitters (EUSART)
- 2x Host Synchronous Serial Ports (MSSP)
- Peripheral Pin Select (PPS)
- Device I/O port
- Analog peripherals
- Differential Analog-to-Digital Converter with Computation (ADCC)
- 2x 8-Bit Digital-to-Analog Converters (DAC)
- 2x Comparators (CMP)
- Zero-Cross Detect (ZCD)
- 2x Fixed Voltage References (FVR)
- Clocking Structures
- Programming/debug
- Clocking structure
- High-Precision Internal Oscillator Block (HFINTOSC)
- Internal 31kHz Oscillator (LFINTOSC)
- External 32kHz Secondary Oscillator (SOSC)
- External high-frequency clock input
- Fail-safe clock monitor
- Oscillator Start-up Timer (OST)
Specifications
- 1.8V to 5.5V operating supply voltage range
- 1.7V minimum RAM data retention
- 1.6V typical power-on reset release voltage
- 1V typical power-on reset rearm voltage
- 0.05V/ms minimum rise rate
- 40-year typical characteristic retention
- 11ms maximum byte erase/write cycle time
- 2.3Mhz maximum gain bandwidth
- 2x 16-bit dual PWM
- Operating temperature ranges
- -40°C to +85°C ambient industrial
- -40°C to +125°C extended ambient
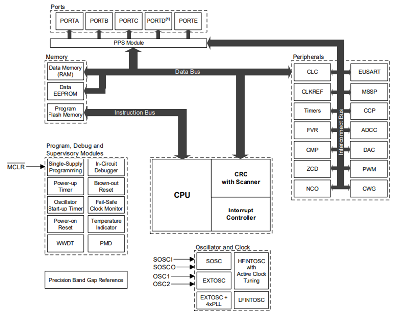
Block Diagram
Core Data Path
Videos
Publicado: 2023-05-08
| Actualizado: 2024-11-05
