Analog Devices Inc. AD4134 Quad-Channel Analog-to-Digital Converters

Analog Devices Inc. AD4134 Quad-Channel Analog-to-Digital Converters (ADCs) are low noise, simultaneous sampling, precision ADCs that offer high functionality, performance, and ease of use. The ADI AD4134 Quad-Channel ADCs are based on the continuous-time sigma-delta (CTSD) modulation scheme. The AD4134 removes the traditionally required switched capacitor circuitry sampling preceding the Σ-Δ modulator, which leads to a relaxation of the ADC input driving requirement. Additionally, the CTSD architecture also inherently rejects signals around the ADC aliasing frequency band, giving the device its inherent antialiasing capability and removing the need for a complicated external antialiasing filter.

Features

  • Alias free: inherent antialias rejection high-performance mode 102.5dB, typical
  • Excellent ac and dc performance
    • 108dB dynamic range at ODR = 374kSPS, FIR filter, typical
    • 137dB dynamic range at ODR = 10SPS, sinc3 filter, typical
    • THD: -120dB typical with 1kHz input tone
    • Offset error drift: 0.9µV/°C typical
    • Gain drift: 2ppm/°C typical
    • INL: ±2ppm of FSR typical
  • Dynamic range enhancement: 4:1 and 2:1 averaging mode
  • 126dB, A-weighted dynamic range
  • Resistive ADC and reference input
  • Easy to sync: asynchronous sample rate converter
    • Multidevice synchronization with one signal line
    • Programmable data rates from 0.01kSPS to 1496kSPS with resolution of 0.01SPS
    • Option to control output data rate by an external signal
  • Linear phase digital filter options
    • Low ripple FIR filter: 32µdB pass-band ripple, dc to 161.942kHz
    • Low latency sinc3 filter and sinc6 filter, dc to 391.5 kHz
    • Sinc3 filter with 50Hz/60Hz rejection
  • 130.7dBFS crosstalk
  • Daisy-chaining
  • CRC error checking on data and SPI
  • Two power modes - high-performance mode and low-power mode
  • 4.5V to 5.5V and 1.65V to a 1.95V Power supply
  • 1.8V IOVDD level
  • 4.096V or 5V External reference
  • Crystal or external CMOS clock of 48MHz
  • SPI or pin (standalone) configurable operation
  • -40°C to +105°C Operating temperature range
  • Available in 8mm × 8mm, 56-lead LFCSP with exposed pad

Applications

  • Electrical test and measurement
  • Audio test
  • 3-phase power quality analysis
  • Control and hardware in loop verification
  • Sonars
  • Condition monitoring for predictive maintenance
  • Acoustic and material science research and development

Videos

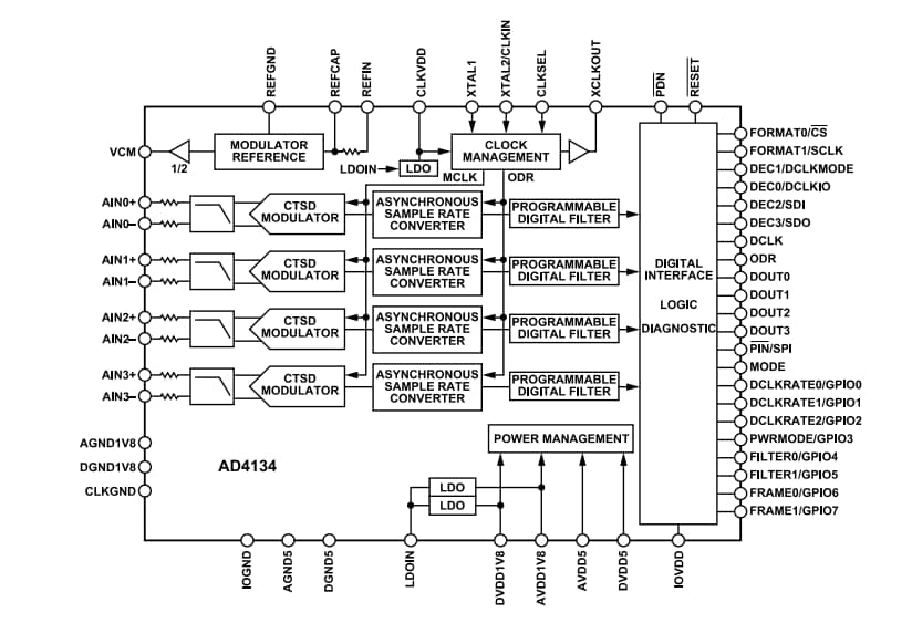
Block Diagram

Block Diagram - Analog Devices Inc. AD4134 Quad-Channel Analog-to-Digital Converters
Publicado: 2021-12-27 | Actualizado: 2025-07-31